N
N RF coaxial connectors are a type of medium size connectors designed according to the standards of MIL-C-39012, IEC60169-16 and CECC 22210, with an impedance of 50Ω (75Ω), thread connecting mechanism and large or medium power, whose frequency range can reach 11GHz. The products are characterized by high anti-shock capability, high reliability, and good mechanical and electric performance, etc. They are widely used in base station equipment, media communication, satellite communication systems and precision measuring instruments, and to connect RF coaxial cables of radio equipment and instruments under a high vibration and environmental load.
Primary Technical Characteristics
| Elecreical Performance | Material and Mechanical Performance | |||||
|---|---|---|---|---|---|---|
| Characteristic Impedance | 50Ω | Center Contact | Pin | Brass |
Gold Plating |
|
| Frequency Range | DC~18GHz |
Socket |
Beryllium Copper | Gold Plating | ||
| Rated Voltage | 500V rms | Body and Other Metal Parts | Brass/Stainless Steel | Nickel Plating / Passivation | ||
| Dielectric Strength Voltage | 2000V rms | Elastic Part | Beryllium Copper | Nickel Plating / Passivation | ||
| VSWR | ≤1.05+0.008f(GHz) | Insulator | PTFE | |||
| Contact Resistance | ≤1.0mΩ | Center Contact | Seal Ring | Silicon Rubber | ||
| ≤0.25mΩ | Outer Contact | Temperature Range | -65℃ ~+165℃ | |||
| Insulation Resistance | ≥5000MΩ | Durability | 500 times | |||
| Insertion Loss | ≤0.05√f(GHz)dB | |||||
Model
![]() |
![]() |
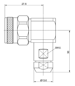
| Part Number | Cable Type | Notes |
|---|---|---|
| N-JW201 | 670-086 SFT-50-2-51 | |
| N-JW302 | 670-141 SFT-50-3-51 |
![]() |
![]() |
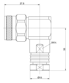
| Part Number | Cable Type | Notes |
|---|---|---|
| N-JW304 | SFGJ-50-3-51 | |
| N-JW401 | SemfLex HP 190S | |
| N-JW408 | SFCJ-50-4-51 |
![]() |
![]() |
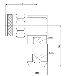
| Part Number | Cable Type | Notes |
|---|---|---|
| N-JW502 | SFCJ-50-5-52 | |
| N-JW504 | GNB470 |
![]() |
![]() |
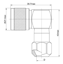
| Part Number | Cable Type | Notes |
|---|---|---|
| N-JW506 | Maxflex 250 | |
![]() |
![]() |
| Part Number | Cable Type | Notes |
|---|---|---|
| N-JW601 | Semflex AL290 | |
| N-JW602 | Semflex HP305S | |
| N-JW606 | SFCJ-50-6-51 | |
| N-JW702 | SFCJ-50-7-52 |
![]() |
![]() |
| Part Number | Cable Type | Notes |
|---|---|---|
| N-JW202 | SFF-50-2-51 | |
| N-JW303 | SFF-50-3-51 | |
| N-JW406 | GNS 502 |
![]() |
![]() |
| Part Number | Cable Type | Notes |
|---|---|---|
| N-JW202 | SFF-50-2-51 | Crimp |
| N-JW303 | SFF-50-3-51 | Crimp |




















